污水處理流量計在供水流量測量領域中的縮頸變徑運用分析
點擊次數:2271 發布時間:2020-12-24 07:11:34
在目前的供水領域中,用于管道的流量測量的儀表普遍使用的儀表都在采用污水處理流量計,對于供水計量儀表的選擇,對保證供水、準確計量及建設成本核算至關重要,污水處理流量計作為一種有著廣泛適應性的流量測量儀表,在用于供水管道測量中有著顯著的優勢。經過近幾年實際運行和觀察對比,我們認為污水污水處理流量計明顯優于其他計量儀表。在實際應用中,經常會出現因用戶用水性質造成管內水流速度較低,進而不能滿足污水處理流量計對流速范圍的要求,所以這時候就需要對管道進行變徑處理。本文針對于污水處理流量計在測量需要變徑的情況,結合實際工作中市政給水接駁工程的設計、施工,就供水流量計水表組設計中表徑選擇的一些特例做一個簡要的介紹。

我們在對用戶用水接駁設計中發現,根據用戶用水量選擇管徑或表徑時,出現一些因用水性質不同而需要綜合考慮的情況。如開發區某新建醫療器械廠,用水分為生產用水、生活用水和消防用水,其中辦公、生產*大用水量為7.62m3/h,未預見水量按15%計為1.14m3/h,空調補充水量5m3/h,合計*大用水量為14.76m3/h。按照生產、生活用水量,應安裝一組DN80水表組,此時管內水流速度為0.83m/s。
根據消防部門的批復,企業廠房的火災危險性為丙級,需安裝室內外消火栓。設計院的設計是建設一個200m3消防水池,儲水量滿足室內消防用水量。室外消防用水由市政管直供水的室外環管網提供。消火栓用水量:室外消火栓用水量30L/s;室內消火栓用水量20L/s。根據消防要求規定及規范,應安裝一組DN150水表組。
生產、生活及消防用水若合裝一個DN150供水流量計水表組,依據消防規范中當生產、生活用水達到*大用水量時仍然要保證消防用水量的原則進行管網消防校核,所需的消防水量和水壓滿足要求。消防用水只在火災時使用,當平時消防系統未啟動時,管內供給企業的主要是生產、生活用水,此時管內水流速度為0.22m/s<0.3m/s,不能滿足供水流量計對流速范圍的要求,即不能對生產企業用水量實行準確計量,這是供水企業所不愿意的。這種因用水性質造成管內水流速度不匹配而需用戶安裝兩組計量儀表的事例在實際工作中是經常能遇到的。我們的解決辦法是:

1.市政給水接駁時的管材、管件及閥門等直徑按系統合用后的參數選定,選擇傳感器直徑比接駁管徑尺寸小的污水處理流量計,管徑、表徑不一致,管徑大、表徑小,安裝連接時傳感器前后加接異徑管。其結果是在供水流量計部分局部提高了流速,滿足了儀表對流速范圍的要求,使供水企業在可以對用水量進行準確計量的前提下二合一,企業節省了一套計量裝置的投資費用。如上述醫療器械廠安裝的水表組構成為管材及閘閥、止回閥直徑為DN150,供水流量計為DN100的計量裝置,此時傳感器部分的水流速度為0.47m/s>0.3m/s。
2.異徑管需滿足錐度要求。供水流量計的入口與出口的直線管段有長度要求,傳感器前后加接的異徑管,若要視為直管段的一部分,應符合產品關于傳感器前后管段漸擴或漸縮的圓錐角小于15°的要求。因此這種做法必須進行異徑管中心圓錐角計算,如上述DN100供水流量計入口與出口處,依據《給水排水標準圖集》加工制作的DN150×100的異徑管,其中心圓錐角計算后為11.74°<15°。
3.異徑管無法滿足錐度要求,必須訂制加長的漸擴或漸縮管。如開發區某大型外資企業依據其用水量原設計選擇DN600供水流量計水表組,企業向供水中心提出水表組的建設費用,以及因供水流量計直管段的要求使水表房過于狹長的緣故,我們考慮采用選擇小一級甚至二級管徑尺寸的供水流量計,水流速度均在其允許范圍內。依據標準圖集異徑管尺寸計算,DN600×400異徑管中心圓錐角為20.42°,DN600×500異徑管中心圓錐角為16.03°,均大于15°,不符合產品設計要求。因此必須訂制非標的漸擴或漸縮管,加長異徑部分的長度,使中心圓錐角減少到錐度要求以內。
總之,污水處理流量計用于供水計量時,由于其傳感器有流速要求,但流速范圍又較寬的特點,設計人員便可以依據用戶用水量和現場的實際情況,作出一些靈活的變化,這樣既節省了水表組的投資,又使測量儀表運行在較好的工作狀態。
污水處理計量表受電磁干擾嗎
污水處理計量表使用方法
污水處理廠流量計怎么接線
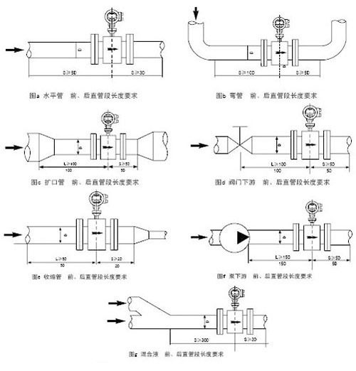
污水處理流量計安裝要求及安裝位置建議
關于影響污水處理流量計測量準確性的因素包括哪些
淺談污水處理廠電磁流量計的檢測
關于污水處理流量測量中流量計的選型及應用
污水處理廠用流量計
污水處理站流量計
鹽穴儲氣庫造腔站污水處理廠流量計選型與可靠性分析
工業污水處理企業的污水處理電磁流量計的在線校準和試驗和數據比較
如何有效避免污水處理專用流量計在測量時產生的氣泡噪聲的問題
污水處理選用流量計調試期與運行期常見故障的分析處理
污水處理電磁流量計和超聲波流量計的特點比較及選型
污水處理廠專用流量計的原理以及構成故障檢查和步驟
超聲波流量計和污水處理電磁流量計在不同的環境下各有優勢
污水處理流量計在大型灌區農業水價綜合改革的探索
污水處理流量計的電磁場會影響工人的健康嗎
水庫引水工程中污水處理電磁流量計的安裝與運行
污水處理流量計在冶金污水處理流量測量中的正確的選型與應用
污水處理廠專用流量計在強腐蝕環境下的問題及解決方案
污水處理流量計可以解決惡劣環境下的可讀性問題
如何進行污水處理中的污水處理電磁流量計選型
為什么說污水處理廠選擇污水處理電磁流量計好
污水處理流量計在提供監測數據有效性的判別技術情況介紹
污水處理廠專用流量計在制藥行業中的應用及未來發展
污水處理的污水流量計測量誤差的來源及預防措施
污水處理廠專用流量計直徑大于電磁直徑所造成的影響原因
關于污水處理廠流量計進行流量測量的技術選型
污水處理廠出口流量計在測量時產生的氣泡噪聲的問題處理

我們在對用戶用水接駁設計中發現,根據用戶用水量選擇管徑或表徑時,出現一些因用水性質不同而需要綜合考慮的情況。如開發區某新建醫療器械廠,用水分為生產用水、生活用水和消防用水,其中辦公、生產*大用水量為7.62m3/h,未預見水量按15%計為1.14m3/h,空調補充水量5m3/h,合計*大用水量為14.76m3/h。按照生產、生活用水量,應安裝一組DN80水表組,此時管內水流速度為0.83m/s。
根據消防部門的批復,企業廠房的火災危險性為丙級,需安裝室內外消火栓。設計院的設計是建設一個200m3消防水池,儲水量滿足室內消防用水量。室外消防用水由市政管直供水的室外環管網提供。消火栓用水量:室外消火栓用水量30L/s;室內消火栓用水量20L/s。根據消防要求規定及規范,應安裝一組DN150水表組。
生產、生活及消防用水若合裝一個DN150供水流量計水表組,依據消防規范中當生產、生活用水達到*大用水量時仍然要保證消防用水量的原則進行管網消防校核,所需的消防水量和水壓滿足要求。消防用水只在火災時使用,當平時消防系統未啟動時,管內供給企業的主要是生產、生活用水,此時管內水流速度為0.22m/s<0.3m/s,不能滿足供水流量計對流速范圍的要求,即不能對生產企業用水量實行準確計量,這是供水企業所不愿意的。這種因用水性質造成管內水流速度不匹配而需用戶安裝兩組計量儀表的事例在實際工作中是經常能遇到的。我們的解決辦法是:

1.市政給水接駁時的管材、管件及閥門等直徑按系統合用后的參數選定,選擇傳感器直徑比接駁管徑尺寸小的污水處理流量計,管徑、表徑不一致,管徑大、表徑小,安裝連接時傳感器前后加接異徑管。其結果是在供水流量計部分局部提高了流速,滿足了儀表對流速范圍的要求,使供水企業在可以對用水量進行準確計量的前提下二合一,企業節省了一套計量裝置的投資費用。如上述醫療器械廠安裝的水表組構成為管材及閘閥、止回閥直徑為DN150,供水流量計為DN100的計量裝置,此時傳感器部分的水流速度為0.47m/s>0.3m/s。
2.異徑管需滿足錐度要求。供水流量計的入口與出口的直線管段有長度要求,傳感器前后加接的異徑管,若要視為直管段的一部分,應符合產品關于傳感器前后管段漸擴或漸縮的圓錐角小于15°的要求。因此這種做法必須進行異徑管中心圓錐角計算,如上述DN100供水流量計入口與出口處,依據《給水排水標準圖集》加工制作的DN150×100的異徑管,其中心圓錐角計算后為11.74°<15°。
3.異徑管無法滿足錐度要求,必須訂制加長的漸擴或漸縮管。如開發區某大型外資企業依據其用水量原設計選擇DN600供水流量計水表組,企業向供水中心提出水表組的建設費用,以及因供水流量計直管段的要求使水表房過于狹長的緣故,我們考慮采用選擇小一級甚至二級管徑尺寸的供水流量計,水流速度均在其允許范圍內。依據標準圖集異徑管尺寸計算,DN600×400異徑管中心圓錐角為20.42°,DN600×500異徑管中心圓錐角為16.03°,均大于15°,不符合產品設計要求。因此必須訂制非標的漸擴或漸縮管,加長異徑部分的長度,使中心圓錐角減少到錐度要求以內。
總之,污水處理流量計用于供水計量時,由于其傳感器有流速要求,但流速范圍又較寬的特點,設計人員便可以依據用戶用水量和現場的實際情況,作出一些靈活的變化,這樣既節省了水表組的投資,又使測量儀表運行在較好的工作狀態。